
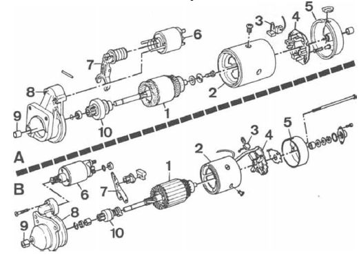
Demarreur
A. Démarreur vàleo - b. Démarreur bosch.
1. Induit -2. Inducteurs -3. Balais - 4. Porte-balais -5. Palier arrière - 6. Solénoïde - 7. Fourchette - 8. Palier avant - 9. Bague -10. Lanceur.
Depose
Pour les 480

Vis de fixation du combiné d'instruments

Vis de fixation de la façade du combiné d'instruments (440 et 460)

Dépose de la façade et de l'habillage de colonne de direction (480)
Pour les 440 et 460
Déposer le combiné d'instruments
Remise en état
du démarreur déposé
Dépose-repose
du mécanisme
d'essuie-glace avantGénéralités concernant le chauffagesupplémentaire
Dans les régions froides1, un chauffage supplémentaire peut être nécessaire afin d'atteindre la température de service normale du moteur et un habitacle chaud.
Chauffage supplémentaire alimenté au carburant
Les voitures avec moteur diesel ont un chau ...
Liquides et lubrifiants
Autres liquides et lubrifiants
A la qualité de l'eau doit correspondre à la norme std 1285,1.
Note
Dans des conditions de conduite normales,
le remplacement de l'huile de boîte de vitesses
n'est pas nécessaire. Cela peut toutefois
s'avérer néces ...
Airbags d'impact latéral sips
pour optimiser la sécurité, votre véhicule est équipé d'airbags
SRS en
plus de la ceinture à trois points standard. l'inscription SRS apparaît à la
fois sur le volant et le tableau de bord situé en face du passager, dans le
cas o&ugr ...