
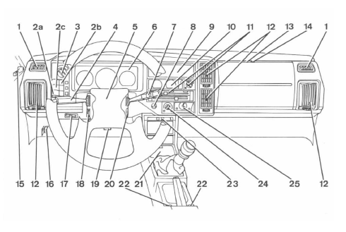
1 Ouïe de dégivrage des vitres latérales.
2 A commande éclairage feu ar de brouillard.
2 B commande désembuage lunette ar.
2 C feux antibrouillard av (berlines suivant équipement).
3 Commutateur d'éclairage.
4 Manette multifonction (clignotant, inverseur route/croisement, appel de phares).
5 Avertisseur sonore.
6 Combiné d'instruments.
7 Manette ce commande essuie-glaces/lave-glaces.
8 Interrupteur signal " danger ".
9 Emplacement radio.
10 Cadrans de contrôle pour moteur turbo.
11 Commandes de chauffage/ventilation.
12 Aérateurs centraux et latéraux.
13 Déverrouillage boite à gants.
14 Serrure boîte à gants.
15 Levier de réglage du rétroviseur extérieur.
16 Levier de déverrouillage du capot moteur.
17 Tirette de volet de départ (moteur à carburateur).
18 Rhéostat d'éclairage au tableau de bord.
19 Levier de réglage en hauteur du volant.
20 Contact-antivol-démarreur.
22 Emplacements interrupteurs électriques glaces et réglages rétroviseurs extérieurs (selon équipement).
23 Emplacement interrupteurs divers projecteurs longue-portée sur coupé.
24 Sélecteur du centre d'information.
25 Montre analogique ou numérique (suivant version).
26 Boîtier à fusibles (coupé).
27 Levier d'ouverture de la trappe à essence et du hayon.
28 Casiers à monnaie.
Manomètres spécifiques au moteurs turbo
Sur la planche de bord, au-dessus des commandes de chauffage/ventilation sont disposés deux cadrans de contrôle.
A gauche : manomètre de pression d'huile (a).
A droite : manomètre de pression de suralimentation (b) :

Manomètre de pression de turbo
A. Huile - 8. Suralimentation (voir texte).

Temoins et indicateurs
de controle
et de surveillance
Compartiment moteurRéglage du volume -
tp/pty/news
Lorsque la radio reçoit des informations
routières, un bulletin d'information ou un type
de programme spécifique, la cassette ou le cd
en cours de lecture est interrompu, puis le
message se fait entendre à un volume réglé au
préalable pour les in ...
La philosophie de Volvo car en matière d'enéironnement
Le respect de l'environnement est l'une des
éaleurs essentielles de Volvo car corporation
qui influencent toutes les actiéités de la compagnie.
Nous croyons aussi que nos clients
partagent notre souci à l'égard de l'environnement.
votre Volvo ré ...
Remplacement d'ampoules
Remplacement d'ampoule de feux de croisement et
de route*
(Ne concerne pas bi-xenon)
le remplacement des ampoules de phare se fait à
partir du compartiment moteur.
Note ! Ne jamais toucher directement les
ampoules avec les doigts. Les dépôts graisseux
s'évapore ...